Olio forcelle
Attrezzatura: di base
Come sostituire l'olio alle forcelle
Attrezzi necessari:
- Chiave da 17, meglio se a cicchetto con prolunga.
- Chiave da 10.
- Un astina da circa 20 cm, la lamina in acciaio dei tergicristalli usati va benissimo.
- Per i modelli senza tappo di scarico, una brugola da 6mm meglio se del tipo lungo e professionale.
- 1100 cc di olio nuovo, meno se monti molle non originali con gradazione da 10W a 20W vedi come funziona la forcella per scegliere quello più adatto.
Modelli con vite di scarico (anni 1987-1995)
- Metti la moto sul cavalletto centrale, se l'hai, o su un cassa, o su un'altro supporto per la moto, ora la ruota anteriore è libera.
- Apri il tappo superiore di ciascuna forcella (chiave del 17)

- Ora allenta le viti che trovi in fondo a ciascun tubo per scaricare l'olio. Usa un contenitore che possa tenere almeno 600 cc.

- Rimuovi il tubetto che funge da spessore e la rondella posta tra tubetto e molla (solo per le molle originali. se monti ad esempio le molle WP sono più lunghe quindi senza lo spessore.
- Sfila le molle.
- Comprimi e rilascia un paio di volte le forcelle per far uscire tutto l’olio (occhio agli schizzi)
- Ora chiudi i due tappini di scarico e riempi con circa 500 cc di nuovo olio, molleggia ripetutamente in modo che si elimino eventuali vuoti presenti nel circuito (di solito si sente dal rumore quando non ce ne sono più).
- Comprimi completamente la forcella e mantienila compressa infilando sotto la ruota dei listelli di legno o una cesta.

N.b. se la forcella non è completamente schiacciata viene compromessa la misurazione del livello
-
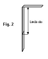
Ora a seconda delle molle che monti dovrai fare il livello corretto, con le molle originali dovrai rabboccare circa altri 50cc per stelo e portarlo al livello prescritto di 125mm dal bordo superiore con altre molle a seconda del volume che occupano si arriva anche a 165mm (e solo ½ litro circa di olio per stelo). E’ molto importante che chi ci fornisce le molle ci dica anche il corretto livello olio, nel dubbio sempre meglio metterne un pò meno (livello a 165) che troppo.
-
Piega l’astina che appoggerai sul bordo della forcella, con una lima segna il livello che dovrai raggiungere.

-
Rabboccando pian piano porta al giusto livello entrambe le forcelle. E’ importante siano uguali per non scompensare l’affondamento.
-
Ora leva gli spessori da sotto la ruota, infila le molle (la parte più fitta delle spire va in basso epr le molle originali, di solito in alto per le progressive come Hiperpro o Wirth), la rondella e il distanziale (se c’è). Se cambi le molle verificane la lunghezza, dovrà essere molto simile (al massimo mezzo cm in più o meno) alla molla originale o alla molla più il suo spessore originale (che in tale caso non andrà più inserito)

se non lo fosse (capita siano più corte) dovrai inserire spessori (vedi a inizio pagina) fino a raggiungere circa la lunghezza dei componenti originali.
-
Cospargi con un filo di grasso il filetto e la guarnizione dei due tappi, con la chiave a cicchetto premi per vincere il precarico molla e avvita cercando di rimanere perfettamente verticale in modo che il filetto prenda correttamente, se si incastra storto svitalo e ritenta.
-
Fatto!
Modelli senza vite di scarico (dal 1996 in poi)
Si può procedere in due differenti modi, o si sfilano le due forcelle e si capovolgono dopo aver aperto i tappi superiori e eliminato la molla, in tal caso ripartite dalla chiusura delle viti inferiori,

oppure se non volte sfilare dalla moto le forcelle vedete di seguito.
-
Prima di tutto è necessario allentare di qualche giro le viti poste sotto la forcella SENZA SVITARLE COMPLETAMENTE, per fare ciò si deve utilizzare la brugola da 6 professionale o con una prolunga, inoltre più la moto è caricata sull’avantreno meglio riesce l’operazione, non come in foto dove la forcella é smontata

(quindi non mettetela sul cavalletto centrale) in quanto la parte interna è libera e viene tenuta ferma solo dalla forza della molla. Può essere necessario agire dando piccoli strappi e non una rotazione uniforme che fa ruotare anche la parte interna.
-
Ora puoi mettere la moto sul cavalletto centrale, se l'hai, o su un cassa, o su un altro supporto per la moto, con un peso sul portapacchi in modo che la ruota anteriore sia ben sollevata da terra, se usi il cavalletto centrale può essere utile mettere anche uno puntello (legno, cric idraulico o qualunque altra cosa) sotto il paramotore per evitare che la moto ricada malauguratamente in avanti.
-
Apri, usando la chiave a tubo da 17 il tappo superiore di ciascuna forcella, estrai la molla, questi modelli non hanno alcuno spessore sopra la molla.

-
Ora svita completamente UNA e SOLO UNA delle viti sbloccate nel punto 1, l’olio comincerà ad uscire.
N.b. se le viti dei due steli si svitano contemporaneamente o se si smuove la forcella quando anche una sola delle viti, potresti poi faticare a avvitarle e dover inserire un cacciavite per centrare il foro. -
Verifica lo stato della guarnizione in rame posta tra vite e foderi e se necessario sostituiscila (io non l'ho fatto).
-
Riavvita, inserendo con delicatezza la vite, non tentare di serrarla non ci riusciresti, la parte interna gira libera fin che non si montano le molle, ma avvitala il meglio che puoi .
-
Fai le stesse operazioni sull’altro stelo.
-
Riempi con circa 500 cc di nuovo olio, molleggia ripetutamente in modo che si elimino eventuali vuoti presenti nel circuito (di solito si sente dal rumore quando non ce ne sono più).
-
Comprimi completamente la forcella e mantienila compressa infilando sotto la ruota dei listelli di legno o una cesta.

N.b. se la forcella non è completamente schiacciata viene compromessa la misurazione del livello
-
Ora a seconda delle molle che monti dovrai fare il livello corretto, con le molle originali dovrai rabboccare circa altri 50cc per stelo e portarlo al livello prescritto di 125mm dal bordo superiore con altre molle a seconda del volume che occupano si arriva anche a 165mm (e solo ½ litro circa di olio per stelo). E’ molto importante che chi ci fornisce le molle ci dica anche il corretto livello olio, nel dubbio sempre meglio metterne un po’ meno (livello a 165) che troppo.
-
Piega l’astina che appoggerai sul bordo della forcella, con una lima segna il livello che dovrai raggiungere.

-
Rabboccando pian piano porta al giusto livello entrambe le forcelle. E’ importante siano uguali per non scompensare l’affondamento.
-
Ora leva gli spessori da sotto la ruota, infila le molle (la parte più fitta delle spire va in basso epr le molle originali, di solito in alto per le progressive come Hiperpro o Wirth). Se cambi le molle verificane la lunghezza, dovrà essere molto simile (al massimo mezzo cm in più o meno) alla molla originale

- Cospargi con un filo di grasso il filetto e la guarnizione dei due tappi, con la chiave a cicchetto premi per vincere il precarico molla e avvita cercando di rimanere perfettamente verticale in modo che il filetto prenda correttamente, se si incastra storto svitalo e ritenta.
- Ora fai scendere la moto dal cavalletto centrale e avvita le due viti inferiori, se la parte interna tende a ruotare, o carichi la forcella (alzando il posteriore) o avviti dando piccoli strappi che non fanno ruotare la parte interna e ti permettono di serrare bene la vite.
- Ultimo aggiornamento il .
- Visite: 67012
